[Home] [Назад]

 

© В. Б. Брайнин, 1995

 

СПОСОБ РАЗВИТИЯ МУЗЫКАЛЬНОГО СЛУХА

И УСТРОЙСТВО ДЛЯ ЕГО ОСУЩЕСТВЛЕНИЯ[1]

Полный текст Патента RU № 2075785 C1 со всеми иллюстрациями

Настоящее изобретение относится к средствам обучения, а именно - к способу развития музыкального слуха, изучения нотной записи и устройству для его осуществления.

Наиболее эффективно настоящее изобретение может быть использовано для развития релятивного мышления и слуха.

Известен способ изучения нотной записи (ДЕ, 4104090 AI),[2] заключающийся в том, что релятивные ступени музыкальной звуковысотной системы представляют в виде графических знаков разного цвета для установления взаимнооднозначного соответствия между ступенью лада и окраской (цветом) знака.

Устройство для осуществления этого способа содержит панель с двумя нотными станами в скрипичном и басовом ключах, направляющие, расположенные поперек нотного стана и имитирующие ноты элементы разного цвета, расположенные на направляющих с возможностью перемещения и фиксации в заданном положении. Количество элементов соответствует релятивным ступеням музыкальной звуковысотной системы.

Известный способ и устройство для его осуществления предоставляют возможность для развития абсолютного слуха, установления активных и прочных ассоциаций между музыкальными звуками, нотными знаками, их названиями и фортепианной клавиатурой.

Кроме того, известный способ развивает релятивное мышление, обеспечивает возможность записи ритмически разнообразных одноголосных и двухголосных построений и ритмически аморфных трёх-пятиголосных построений.

Существенный недостаток известного способа заключается в том, что он не провоцирует развитие релятивного мышления и слуха, так как релятивные значения элементов (нотных знаков) существуют лишь по договорённости (условно). Таким образом не обеспечивается взаимнооднозначное соответствие знака и релятивной ступени музыкальной звуковысотной системы.

В основу настоящего изобретения положена задача создания способа изучения нотной записи и устройства для его осуществления, в которых соотношение между цветом знака, имитирующего ноту, и звуком этой ноты обеспечивало бы установление прочных объективных синтестетических цветозвуковых ассоциаций.

Поставленная задача решается тем, что в способе изучения нотной записи, заключающемся в том, что релятивные ступени музыкальной звуковысотной системы представляют в виде графических знаков различных цветов, согласно изобретению, цвета любой пары графических знаков, находящихся один от другого на расстоянии чистой квинты, выбирают таким образом, чтобы они соответствовали двум соседним цветам радужного спектра, искусственно разделенного на двенадцать частей, при этом в качестве звуковысотной системы используют европейскую двенадцатизвуковую систему.

В предлагаемом изобретении в такой связи между цветом и звуком присутствует объективный элемент, а именно - звуки, акустические частоты которых при одновременном воспроизведении в наименьшей степени интерферируют друг с другом, соответствуют цветам спектра, чьи электромагнитные частоты при одновременном воспроизведении также дают наименьшую интерференцию. Из этой связи возникает ряд следствий. Например, тоника, символизирующая состояние покоя, будет всегда зеленого цвета. Из психологии в то же время известно свойство зеленого цвета производить впечатление покоя. Все мажорные ступени имеют теплые цвета, все минорные - холодные. Все большие и увеличенные интервалы имеют вверху более теплый цвет, чем внизу, все малые и уменьшённые интервалы - наоборот. Известные цветомузыкальные синестетические системы Скрябина и Римского-Корсакова субъективны. Предлагаемое изобретение опирается на объективную закономерность и обеспечивает установление прочных объективных синтестетических цветозвуковых ассоциаций.

В соответствии с одним из вариантов выполнения изобретения каждый графический знак имеет форму, зависящую от направления ладовых тяготений звука, имитируемого данным знаком, при этом знаки, имитирующие устойчивые и неустойчивые ступени, имеют разную геометрическую форму.

Весьма целесообразно, чтобы знаки, имитирующие неустойчивые ступени, были выполнены в виде ромбов, каждый из которых составлен из двух треугольников, символизирующих нисходящее и восходящее тяготения, а знаки, имитирующие устойчивые ступени, имели другую геометрическую форму.

Такой вариант выполнения изобретения дает полноценное наглядное представление музыкальной звуковысотной системы, отражая отношения тяготений-отталкиваний в тональной системе.

Поставленная задача решается также и тем, что в устройстве для изучения нотной записи, содержащем панель с нотным станом, направляющие, расположенные поперёк нотного стана, и имитирующие элементы разных цветов, расположенные на направляющих с возможностью перемещения и фиксации в заданном положении и количество которых соответствует релятивным ступеням музыкальной звуковысотной системы, согласно изобретению, элементы расположены на направляющих в последовательности, воспроизводящей гамму, при этом цвета любой пары элементов, находящихся на расстоянии чистой квинты один от другого выбирают таким образом, чтобы они соответствовали двум соседним цветам радужного спектра, искусственно разделенного на двенадцать частей, причём в качестве звуковысотной системы используется европейская двенадцатизвуковая система.

Другие цели и преимущества настоящего изобретения станут понятны из следующего детального описания примеров его выполнения и прилагаемых чертежей, на которых:

 

 фиг.1 изображает схему, иллюстрирующую способ, согласно изобретению;

 фиг.2 - устройство для осуществления способа, согласно изобретению;

 фиг.3 - вариант выполнения устройства, согласно изобретению;

 фиг.4, и фиг.5 - схемы, иллюстрирующие варианты способа, согласно изобретению;

 фиг.6 - вариант выполнения устройства, согласно изобретению.

 

Способ изучения нотной записи заключается в том, что релятивные ступени музыкальной звуковысотной системы представляют в виде графических знаков разного цвета. Цвета элементов подбирают таким образом, чтобы цвета любой пары знаков, находящихся на расстоянии чистой квинты один от другого соответствовали двум соседним цветам радужного спектра, искусственно разделённого на двенадцать частей, при этом в качестве музыкальной звуковысотной системы используют европейскую двенадцатизвуковую систему.

Если в качестве примера возьмем двенадцатизвуковую квинтовую цепь от "ре бемоль" до "фа диез", то получим следующее соответствие звуков и цветов для тональности с тоникой "до ":

 

фа диез - алый

си - красный

ми - оранжевый

ля - жёлтый

ре - лимонный

соль - салатный

до - зелёный

фа - аквамариновый

си бемоль - голубой

ми бемоль - синий

ля бемоль - сине-фиолетовый

ре бемоль - фиолетовый

 

 Названия нот могут быть заменены номерами ступеней и тогда данная цепочка цветозвуковых ассоциаций может быть распространена на любую тональность, при этом ступени до-мажора (до, ре, ми, фа, соль, ля, си) обозначим цифрами от 1 до 7, а остальные ступени - теми же цифрами со знаками альтерации:

 

4# - алый

7 – красный

3 – оранжевый

6 – жёлтый

2 – лимонный

5 – салатовый

1 – зелёный

4 – аквамариновый

7b – голубой

3b – синий

6b - сине-фиолетовый

2b- фиолетовый

 

В такой связи между цветом и звуком присутствует объективный элемент, а именно - звуки, акустические частоты которых при одновременном воспроизведении в наименьшей степени интерферируют друг с другом, соответствуют цветам спектра, чьи электромагнитные частоты при одновременном воспроизведении также дают наименьшую интерференцию. Из этой связи возникает ряд следствий. Например, тоника, символизирующая состояние покоя, будет всегда зеленого цвета. Из психологии в тоже время известно свойство зеленого цвета создавать ощущение покоя. Все мажорные ступени имеют "теплые" цвета, все минорные - "холодные". Все большие и увеличенные интервалы имеют вверху более теплый цвет, чем внизу, все малые и уменьшённые интервалы - наоборот.

На фиг.1 представлена схема, иллюстрирующая предлагаемый способ, которая представляет собой цвето-графическую модель тональности.

 В изображенной на фиг.1 схеме все неустойчивые ступени символизируются ромбами, образованными двумя треугольниками, верхний из которых символизирует восходящее ладовое тяготение, а нижний - нисходящее. Устойчивые ступени символизируются прямоугольниками (вместо прямоугольников могут быть использованы другие геометрические фигуры, например, окружности, квадраты и т.д.).

Такая схема дает полноценное наглядное представление музыкальной звуковысотной системы и отражает отношения тяготений-отталкиваний в тональной системе Например, 6 ступень тяготеет к 7b и отталкивается от 6b.

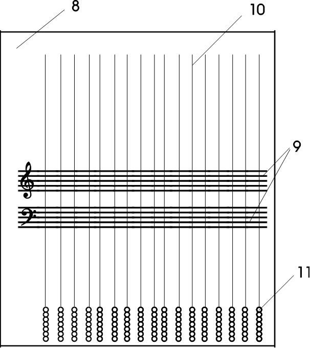
На фиг.2 представлено устройство для осуществления предлагаемого способа. Устройство содержит панель 8 с нотным станом 9, направляющие 10, расположенные поперек нотного стана, и элементы 11, имитирующие ноты. Элементы 11 расположены на направляющих 10 с возможностью перемещения и фиксации в заданном положении.

Форма элементов 11 и их расположение на направляющих 10 аналогична фиг.1, то есть элементы 11 расположены в определённом порядке, имитирующем хроматическую гамму.

На фиг.3 изображён вариант устройства для осуществления способа, в котором элементы 11 имеют одинаковую круглую форму - в виде пуговиц, а их цвета расположены в последовательности, изображенной на фиг.1.

Такой вариант выполнения изобретения позволяет сохранить связь между релятивными ступенями и цветами спектра, но утрачивается связь между формой элементов 11 и направлением ладовых тяготений.

Отсутствие ключа при нотном стане 9, на фиг.2 и фиг.3 вызвано тем, что ключ на этих фигурах может быть разным.

При изучении различных ладов имеет смысл использовать схему расположения элементов 11, изображенную на фиг.1 таким образом, чтобы часть треугольников, имитирующих ступени, отсутствующие в том или другом ладе, оставались не закрашенными.

На фиг.4 изображена схема для изучения натурального мажора, а на фиг.5 - натурального минора.

На фиг.6 изображён вариант устройства для осуществления предлагаемого способа.

 Устройство содержит панель 8 с двумя нотными станами 9 в скрипичном и басовом ключах и семью цветными элементами 11, имитирующими ступени гаммы. Все элементы 11 выполнены круглыми, установлены на направляющих 10, расположенных на панели 8 поперёк нотного стана. Если имитируются ступени натурального мажора, то последовательность цветов элементов 11 будет та же, что на фиг.4, если натурального минора, то последовательность цветов соответствует фиг.5.

 Таким образом, для любого семиступенного звукоряда цвета элементов 11 будут соответствовать тем цветам, которые будут выбраны для этой цели из фиг.1.

 

Пример 1:

На первом этапе обучения детей предлагается использовать вариант выполнения устройства, изображенный на фиг.6, при этом элементы 11 должны иметь цвета в соответствии с фиг.4.

a.         Каждой ступени лада дается релятивное наименование в зависимости от того, какой системы релятивной сольмизации склонен придерживаться педагог. Это может быть английская система Дж.Кёрвена (J.Curwen, "Tonic sol-fa method"), немецкая система А.Хундеггер (A.Hundoegger, "Tonika Do-Lehre"), венгерская система З.Кодая (Z.Kodály), эстонская система Х.Кальюсте (H.Kaljuste), принятая в России и в других странах бывшего СССР и другие. Автор в своей работе использует собственную модификацию системы Х.Кальюсте и частично других систем.

b.         Учитель устанавливает элемент 11 на произвольно выбранной нотной линейке (или в "окошке") и обозначает его как одну из ступеней лада, предлагая рядом с этой нотой поставить какую-нибудь другую ступень лада.

c.         Учитель играет на фортепьяно мелодический каданс из трёх нот. Ученик устанавливает его на "устройстве" (например, предварительно подобрав на фортепьяно), учитель играет другой каданс, в котором изменена одна нота по сравнению с предыдущим. Ученик передвигает пуговицу 11 и проверяет на фортепьяно, затем поет с названиями ступеней или с названиями нот.

 

Таким образом ученик подготавливается к записи музыкального диктанта.

На предлагаемом устройстве возможно изучение других ключей (альтового, тенорового и так далее) путем соотношения уже изученных ключей с вновь изучаемыми. При этом необходимы два устройства, одним из которых пользуется ученик, а другим учитель.

Кроме того, значительно может быть ускорено обучение записи двухголосного диктанта и развитие гармонического мышления.

Использование устройства, изображенного на фиг.6, и схемы (фиг.4) облегчает выполнение данного упражнения и не позволяет совершать очевидные ошибки (например, устанавливать вторую ступень под первой).

 

Пример 2:

Производится сольфеджирование мелодий релятивными слогами по схеме, изображенной на фиг.4 (если мелодия в мажоре), или на фиг.5 (если мелодия в миноре), или на фиг.1 для более позднего этапа обучения с использованием разнообразных ладов.

 

Пример 3:

Производится "записывание" диктантов в различных ладах с использованием различных вариантов устройства, изображённых на фиг.2, фиг.3, фиг.6.

 

Пример 4:

Производится сочинение мелодий в различных ладах с использованием вариантов устройства, изображенных на фиг.2, фиг.3, фиг.6.

 

Пример 5:

Производится изучение строения различных ладов с использованием вариантов устройства, изображенных на фиг. фиг.2, фиг.3.

 

ФОРМУЛА ИЗОБРЕТЕНИЯ

 

 1. Способ изучения нотной записи, заключающийся в том, что релятивные ступени музыкальной звуковысотной системы представляют в виде графических знаков разного цвета, отличающийся тем, что цвета любой пары графических знаков, находящихся на расстоянии чистой квинты один от другого, выбирают таким образом, чтобы они соответствовали двум соседним цветам радужного спектра, искусственно разделенного на двенадцать частей, при этом в качестве звуковысотной системы используют европейскую двенадцатизвуковую систему.

 2. Способ по п.1, отличающийся тем, что каждый графический знак имеет форму, зависящую от направления ладовых тяготений звука, имитируемого данным знаком, при этом знаки, имитирующие устойчивые и неустойчивые ступени, имеют разную геометрическую форму.

 3. Способ по п.2, отличающийся тем, что знаки, имитирующие неустойчивые ступени, выполнены в виде ромбов, каждый из которых разделен на два треугольника, символизирующих нисходящее и восходящее тяготения.

 4. Устройство для изучения нотной записи, содержащее панель (8) с нотным станом (9), направляющие (10), расположенные поперёк нотного стана (9), и имитирующие ноты элементы (11) разных цветов, расположенные на направляющих (10) с возможностью перемещения и фиксации в заданном положении, и количество которых соответствует релятивным ступеням музыкальной звуковысотной системы, отличающееся тем, что элементы (11) расположены на направляющих (10) в последовательности, воспроизводящей гамму, при этом цвета любой пары элементов (11), находящихся на расстоянии чистой квинты один от другого, выбирают таким образом, чтобы они соответствовали двум соседним цветам радужного спектра, искусственно разделенного на двенадцать частей, причём в качестве звуковысотной системы используется европейская двенадцатизвуковая система.

 

 

 



[1] Несмотря на то, что "Способ развития музыкального слуха и устройство для его осуществления" представляет собой "ноухау" и  запатентован, содержание метода может быть использовано бесплатно, но исключительно со ссылкой на автора метода и в контакте с автором метода. Автор не берёт и не предполагает брать вознаграждение за использование его интеллектуальной собственности. Смысл патента в установлении приоритета, цель патентования - осуществление контроля за верным применением метода. Автор заинтересован в легальном распространении метода и готов предоставить интеллектуальную поддержку бесплатно.

[2] Brainin Notation Board. German Patent Office, DE 41 04 090 A1, G 09 B 15/02, © Valeri B. Brainin, 1990.